新闻法规
18项医疗器械国家标准立项申请,公开征求意见!
[2026-02-09]
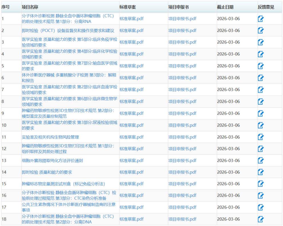
按照《医疗器械标准管理办法》《医疗器械标准制修订工作管理规范》的要求,全国医用临床检验实验室和体外诊断系统标准化技术委员会对《分子体外诊断检测 静脉全血中循环肿瘤细胞(CTC)的前处理技术规范 第1部分:分离RNA》等18项医疗器械国家标准立项申请项目公开征求意见。请于2026年03月06日前反馈意见。
国家药品监督管理局医疗器械标准管理中心
2026-02-07

来源:中国食品药品检定研究院
声明:文章为转载,其版权归原作者所有。转载仅用于分享,若涉及文章版权等问题,联系我方删除!
>医疗器械注册,久顺是您不二之选! 30年全球合规技术专家,专注无菌\非无菌\植入\有源\体外诊断等医疗器械领域,丰厚的产品注册、质量体系、临床试验等咨询管理和技术服务经验,护航产品全球畅行无阻!

【返回】





沪公网安备 31011502005499